股票配资网址导航 央行开展1563亿元7天期逆回购操作
央行开展1563亿元7天期逆回购操作股票配资网址导航,操作利率1.4%。
举报 第一财经广告合作,请点击这里此内容为第一财经原创,著作权归第一财经所有。未经第一财经书面授权,不得以任何方式加以使用,包括转载、摘编、复制或建立镜像。第一财经保留追究侵权者法律责任的权利。如需获得授权请联系第一财经版权部:banquan@yicai.com 相关阅读
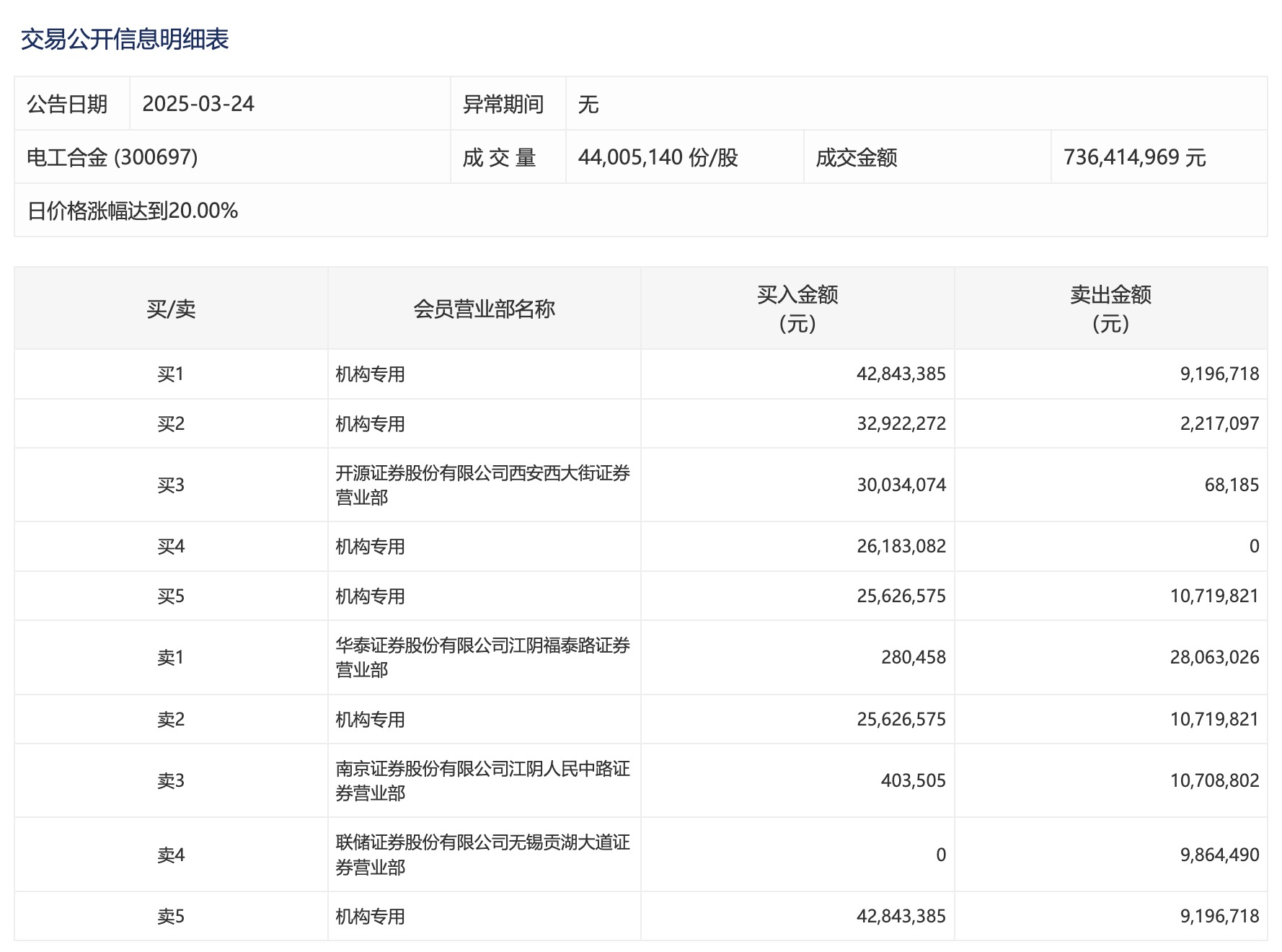
电工合金20%涨停,四机构净买入1.05亿元电工合金20%涨停,四机构净买入1.05亿元
0 03-24 16:56
万马股份今日跌7.77%股票配资网址导航,深股通专用席位净卖出1400万元万马股份今日跌7.77%,深股通专用席位净卖出1400万元
0 03-20 16:25
万马股份今日涨停,深股通专用席位买入1.72亿元并卖出4801.85万元万马股份今日涨停,深股通专用席位买入1.72亿元并卖出4801.85万元
0 03-18 16:49
宝钛股份今日涨停 2家机构专用席位净卖出2.49亿元宝钛股份今日涨停 2家机构专用席位净卖出2.49亿元
0 03-13 16:08
东威科技今日20cm涨停股票配资网址导航,3家机构专用席位净买入2.72亿元东威科技今日20cm涨停,3家机构专用席位净买入2.72亿元
0 03-10 16:54 一财最热 点击关闭长宏网配资提示:文章来自网络,不代表本站观点。



